商标分类 商标服务 文章资讯 联系我们 (+86) 139 2371 1962

中国商标近似查询的步骤

发布时间:2023-03-21 17:51:20             来源:ivy

中国申请注册商标前,必不可少的一个步骤就是商标查询准备工作。

进行商标近似查询之前,我们必须知道所查商品的类别,所以本文将从商品类别查询步骤开始,以商品“车载空调”,商标名“格力”为例进行商标近似查询。

商品服务项目查询
 
1

打开中国商标网(阅读原文可进入链接),点击“商品/服务类目查询”选项

进入商品/服务项目查询,在下图中的红框中输入“车载空调”,然后点击查询按钮,原页面下方并未出现任何相关分类。

因为商品分类很多,所以有时查询没有出现与之匹配的分类结果也很正常,当我们碰到这种情况的时候,我们可以采取另一种方法继续查询——我们将“车载空调”这个词语中的关键词“空调”提取出来,再进行一次查询。

在下图中的红框中输入“空调”,然后点击查询按钮,可以看到,原页面下方出现相关分类,在第三列信息中找到与“车载空调”匹配的“运载工具用空调器”即可。这时我们需要记下两个信息:国际分类“11”,类似群“1106”

商标近似查询

2

在近似查询原页面,点击页面导航栏“商标近似查询”,进入后点击“选择查询”按钮。

用刚才查询到的结果,在国际分类框输入“11”,类似群输入“1106”,查询方式一般选择汉字或者英文,查询类型勾选“全选/取消”(需要注意的是,如果不勾选全选,查询结果会比没勾选的结果要少),商标名称输入“格力”(这里以格力为例),点击查询即可。

查询结果详情

3

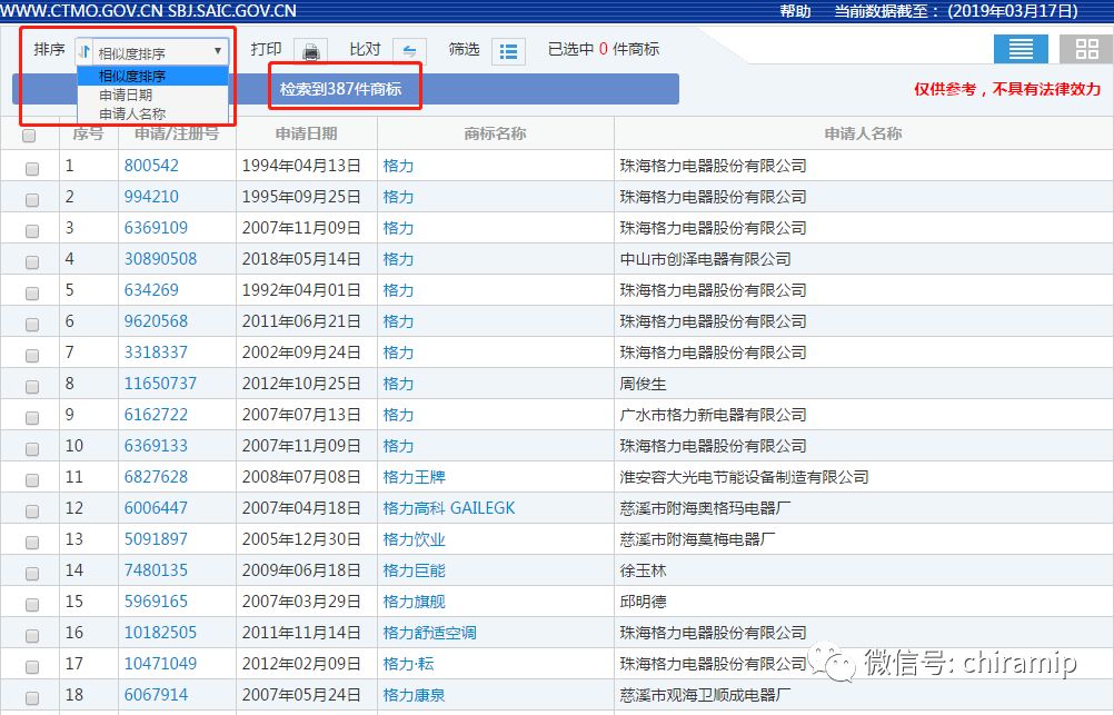
在下图的结果页面,我们可以看到检索到的相关商标有387件。另外我们可以对结果选择排序方式,这里我们选择默认的“相似度排序”。

以第一条结果为例,点击下图中蓝色字体“格力”,即可查看相关商标注册信息

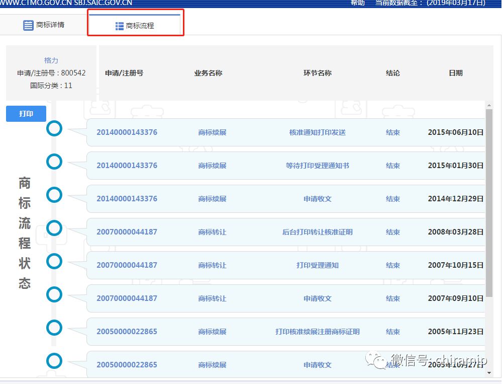
图中的“商标详情”可以打印

在原页面点击“商标流程”,可查看公司的商标流程时间


关于中国商标近似查询的步骤就这些啦